티스토리 뷰
천안 추석 명절 연휴 문 여는 병원 응급실 약국 정보 총정리
천안시는 추석 연휴를 맞아 응급의료 공백을 최소화하기 위해 '비상응급 대응주간'을 운영합니다.
천안 지역에서 추석 명절 연휴 동안 문을 여는 병원, 응급실, 약국 정보를 알려드립니다. 아래에서 정보를 꼭 참고하셔서 혹시 모를 응급 상황에 대비하시기 바랍니다.
추석 명절 연휴 문여는 병원 약국 응급실
추석 설날 명절 연휴, 문 여는 병원 약국 응급실 쉽게 찾기(방법)추석이나 설 명절 연휴에는 많은 병원과 약국이 문을 닫기 때문에 갑작스러운 병증이나 사고에 대처하기가 어렵습니다. 저도 아
sallimstory.hat82.com
아래 링크에서 추석 연휴 문여는 병원, 약국 정보를 천안시 동남구와 서북구로 나누어 알려드리고 리스트를 파일로 다운받으실 수 있습니다.
- 천안시 동남구
- 추석 연휴 문여는 병원
- 추석 연휴 문여는 약국
휴일 문여는 병원 약국 응급의료포털 e-gen 사이트
응급의료포털 E-Gen에서는 명절 연휴 비상 진료 병의원 및 응급실과 약국을 확인하실 수 있습니다. www.e-gen.or.kr/ 문여는 병의원·약국 검색-일반 | E-GEN통합홈페이지병의원·약국 비상진료 검색 비
deukistory.hat82.com
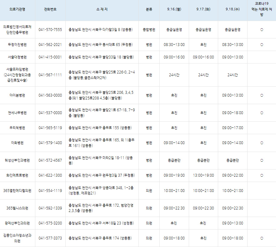
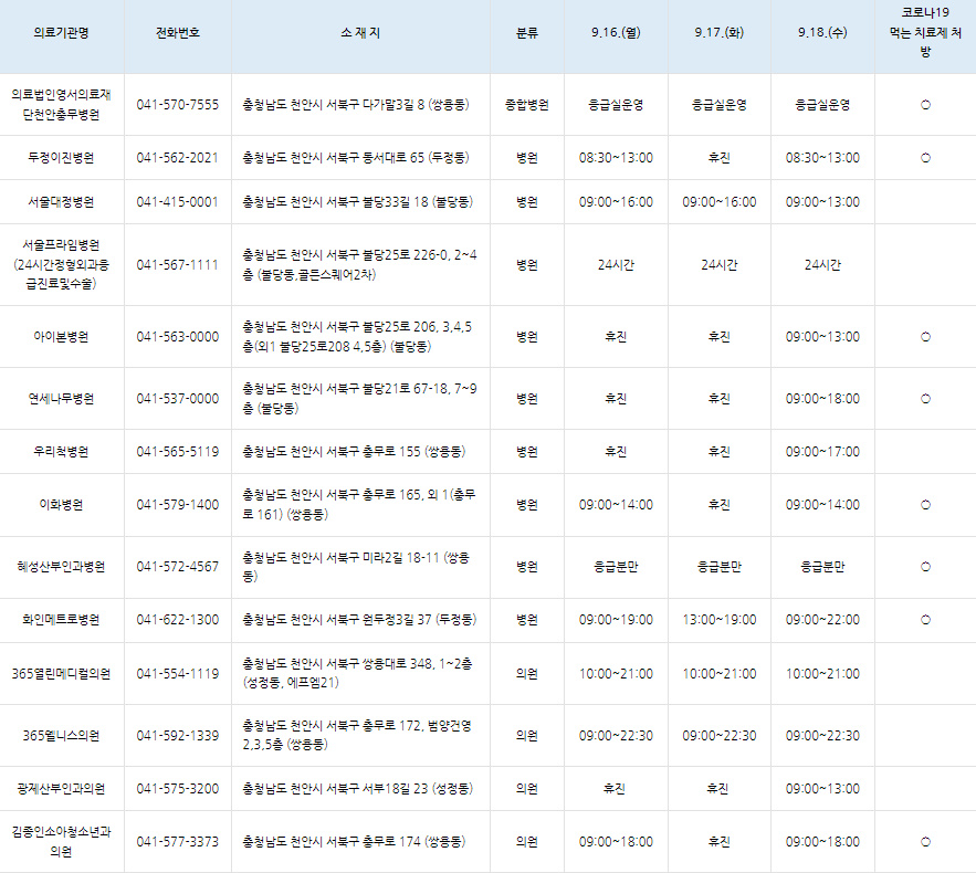
- 천안시 서북구
- 추석 연휴 문여는 병원
- 추석 연휴 문여는 약국
또한, 천안시는 연휴 기간 재난 및 응급환자 발생에 대비해 응급실 5곳 모두 24시간 정상 운영합니다.
모든 병원과 약국은 내부사정에 의해 운영시간이 변경될 수 있으니 꼭 전화 확인 후 내원하시기 바랍니다.
즐겁고 건강한 추석 명절 연휴 보내시기 바랍니다.
수도권 철도 정기승차권 충남 교통비 지원 신청하기
충청남도에 주민등록이 되어 있고 거주하시는 분들에 한하여 교통비 지원을 받으실 수 있는 사실 알고 계셨나요? 물가가 치솟는 요즘 작은 지원이라도 살림에 큰 보탬이 되는데요. 충남 교통
sallimstory.hat82.com









- Total
- Today
- Yesterday
- 추석 문여는 병원
- 충주 독감 위탁의료기관
- 아산 독감 무료접종 일정
- 추석 응급실
- 2024 독감 예방접종
- 충주독감무료접종병원
- 청주 독감 무료접종 기간
- 청주 독감 무료접종 대상
- 독감 위탁의료기관
- 청주 독감 무료접종 병원
- 아산 독감 예방접종 병원
- 예방접종 전자예진표
- 아산 독감 무료접종 병원
- 청주 지자체 독감 무료접종 추가대상
- 독감무료접종
- 충주독감무료접종
- 충주무료접종기간
- 응급의료포털 E-Gen
- 청주 독감 예방접종
- 충주지자체독감무료접종
- 추석 연휴 문여는 병원
- 아산 독감 무료접종
- 추석 연휴 문여는 약국
- 정부24
- 아산 독감 예방접종 기간
- 추석 문여는 약국
- 아산 독감 무료접종 대상자
- 아산 독감 예방접종
- 2024 독감 무료접종
- 충추독감무료접종기간
| 일 | 월 | 화 | 수 | 목 | 금 | 토 |
|---|---|---|---|---|---|---|
| 1 | 2 | 3 | ||||
| 4 | 5 | 6 | 7 | 8 | 9 | 10 |
| 11 | 12 | 13 | 14 | 15 | 16 | 17 |
| 18 | 19 | 20 | 21 | 22 | 23 | 24 |
| 25 | 26 | 27 | 28 | 29 | 30 | 31 |









